
所屬分類:輸送機防爆保護開關
發布日期:2019-11-14
瀏覽:次
咨詢電話:
15373185054
分享此產品:
LL-I料流檢測裝置
概述:
●本機用于膠帶運輸機輸送物料的檢測、可發出有載運行信號。如有灑水裝置連接,可實現對物料的自動灑水功能。
技術參數
1、使用環境條件:
●環境溫度:-30℃~70℃
●相對濕度不大于85%
2、參數見下表
型號 | 動作角度 | 觸點數量 | 觸點容量 | 防護等級 | 重量 | |
2常開 2常閉 | ||||||
LL-I | 雙向 20度 | AC220V 3A | IP65 | 3KG |
結構特點
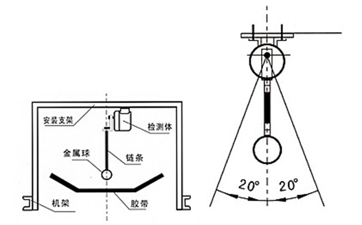
●對于膠帶較寬、帶速較高時采用門式支架安裝,見圖;
●如膠帶較窄、帶速較低時可采用單臂式支架;
●采用鏈錘與物料接觸,減少了物料對檢測器的直接沖擊,延長了使用壽命;
●拉參見圖1,若選用單臂式支架,橫梁在中間處斷開,橫梁與支臂交接處加一斜拉角鋼。
安裝調整
●采用門式支架安裝時,將檢測頭固定于橫梁上;
●鏈錘高度可視現場情況確定;
●本裝置開關轉換角度為20°,對有傾角的膠帶機可適當調整安裝角度;
●用于單臂式安裝可參照門式安裝方式;
工作原理
LL-I型料流檢測裝置采用下垂鏈球(或采用拍板式)與物料接觸的檢測方式。當膠帶運送物料時,物料推動球并帶擺臂向一側偏移,若偏移角度大于20°時,內部開關啟動,輸出一組開關信號。
接線:本開關自帶 紅 藍 綠 白四芯線纜,紅藍為一組常開,是輕度負載。白綠為一組常開,為重度負載。根據現場要求選擇常開或常閉。
